• 欢迎访问扬州众人电气科技有限公司···

扬州众人电气科技有限公司

专注于智能电力监控,电能管理产品

具有强大的产品研发、生产、制造能力推陈出新
全国统一服务热线

全国咨询热线:

19816001888

扬州众人电气科技有限公司
当前位置 您的位置:首页 > 产品展示 > 电力仪表产品 > 电气火灾监控系统
产品展示电气火灾监控系统
    Y系列剩余电流互感器
     
     功能特点
     线性精度好,感应灵敏度高,抗过载能力强;
     测量范围0-1000mA/2.5mA;
     额定频率50Hz~60Hz
     外壳材料彩用阻燃ABS;
     外形美观,体积小,安装方便;
     电流误差≤5%
     重量轻,全封闭,高绝缘;
     耐压值3000V/min

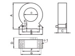
    规格相电流范围尺寸(mm)
    ABCDEFGHI
    ZRS-Y250-40A255550243036384244
    ZRS-Y4540-160A458577243055566644
    ZRS-Y65160-250A6510696243070728155
    ZRS-Y80250-400A80120112283580809055
    ZRS-Y100400-630A100140132283510011012055
    ZRS-Y150630-1000A150188180283515016517566

     

    ZRS-F系列剩余电流互感器

     功能特点
     线性精度好,感应灵敏度高,抗过载能力强;
     测量范围0-1000mA/2.5mA;
     额定频率50Hz~60Hz
     外壳材料彩用阻燃ABS;
     外形美观,体积小,安装方便;
     电流误差≤5%
     重量轻,全封闭,高绝缘;
     耐压值3000V/min

    规格相电流范围尺寸(mm)
    ABCDEFG
    ZRS-F10200-100A1002015750161471335
    ZRS-F10250-100A1002516260241871325
    ZRS-F14320-225A1403220272241871725
    ZRS-F18320-250A1803224272242272126
    ZRS-F22450-400A2204528285242672526
    ZRS-F26450-630A2604532285243072926
    ZRS-F30450-1600A3004536385243473326


     

    ZRG过电流传感器 

       ZRG过电流传感器是一种新型高精密度电流互感器,
     与ZR-380监控探测器配合使用。
     功能特点
     采用高初始磁导率的磁性元作,灵敏度、精确度高
     较高饱和感应强度,抗过载能力强
     体积小巧,安装方式多样
     产品重量轻、全封闭、高绝缘

    规格相电流范围尺寸(mm)
    ABCDEFG
    ZRG28710-100A101009228385308
    ZRG28810-250A2011510830402335
    ZRG28910-630A3020018736755568


    下一条:ZR-380(组合式)C型剩余电流式电气火灾监上一条:ZR-380(一体式)电气火灾监控探测器